- Устройство и принцип работы
- Модельный ряд
- Правила установки
- Насосная станция
- Ремонт насоса «Малыш»
Не всегда есть необходимость организации водоснабжения загородных участков большим объемом воды. Во времена Советского Союза в основном существовали небольшие дачные участки, на которых строились деревянные, реже каменные, постройки. Использовались они только в летний сезон, а водозабор делался для полива, для чего устанавливался один кран, для летнего душа и один кран внутри дома, чаще в кухне. Поэтому для такого водообеспечения устанавливался маломощный малогабаритный насос. В те далекие советские времена таким агрегатом был погружной насос «Малыш».
В принципе, его специально для этих нужд и стали производить. Он обладал небольшой мощностью, весил около 4 кг, работал стабильно и из всех предлагаемых моделей стоил дешевле всего. Казалось бы, что время его проходит, потому что на рынке стали появляться более современные модели, оснащенные по последнему слову техники. Но водяной насос «Малыш» своих позиций не сдал. Он до сих пор пользуется огромной популярностью у жителей загородных участок. Особенно у тех, которые живут в небольших коттеджах.


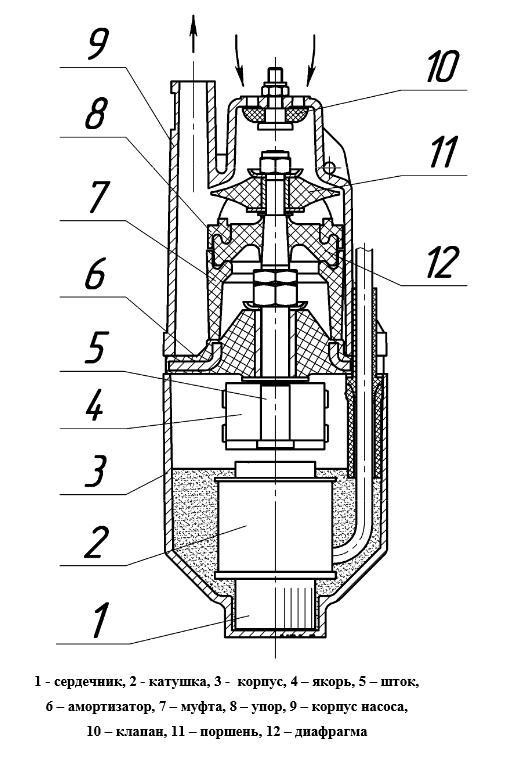
Устройство и принцип работы
В первую очередь необходимо сообщить, что «Малыш» является насосом вибрационным. То есть, в его конструкции установлена мембрана, разделяющая насосный отсек на две части. Одна часть наполнена воздухом, через вторую прогоняется вода от всасывающего патрубка в подающий. Сама мембрана начинает вибрировать от работы электропривод, который превращает электрический ток в электромагнитные колебания. Последние передаются мембране по средству специального клапана-поплавка.
То есть, получается так, что колебания мембраны создают разность давлений. Когда она поднимается вверх, происходит всасывание воды через всасывающий клапан, потому что происходит расширение отсека, а значит, появляется разряжение, то есть, давление в отсеке падает. При опускании жидкость, наоборот, под действием уменьшения объема отсека, а значит, увеличении давления выталкивает воду через подающий клапан. Это и есть принцип работы насоса «Малыш».


Внимание! Частота колебаний мембраны 100 раз в секунду. Это очень большая частота, поэтому колебаниями их назвать нельзя, скорее всего, это вибрация. Отсюда, в принципе, и название категории данного вида насосов.
Необходимо отметить, что вибрационные насосы очень чувствительны к перегреву, поэтому современные модели «Малыша» снабжаются системой автоматики. В основном это относится к электродвигателю, который начинает перегреваться, если через насос не проходит вода. В таких ситуациях он быстро выходит из строя. Что касается автоматики, то это обычный температурный датчик, который отслеживает температуру в моторном отсеке прибора. Он передает сигнал увеличения температуры на реле, которое при необходимости отключает насос.
Конструктивно все вибрационные насосы «Малыш» делятся на две группы:
- с верхним забором воды;
- с нижним.


В первой позиции электродвигатель располагается в нижней части агрегата. Это большое преимущество, потому что таким образом он всегда находится в воде, от которой и происходит его охлаждение. К тому же надо отдать должное, что верхний водозабор гарантирует определенную чистоту воды. Просто в верхних слоях она всегда чище, чем в нижних. Плюс, нижний водозабор – это всегда риск захвата иловых отложений, которые быстро выведут из строя вращающиеся части насосной установки. Поэтому, выбирая насос «Малыш», обращайте на это внимание.
Внимание! Если был приобретен насос с нижним водозабором, то рекомендуется место всасывания покрыть сеткой.


Модельный ряд
Необходимо отдать должное производителям насосов «Малыш», которые сегодня предлагают несколько модификаций данного прибора. То есть, увеличился выбор агрегатов по техническим характеристикам.
Классика
Эта модель пришла в современность из далекого прошлого, то есть, она не изменялась со времен первого выпуска насоса. У нее нижний водозабор и полное отсутствие автоматики. Использовать его можно для откачки воды из колодцев и скважин, а также из открытых водоемов. Основное требование – вертикальность при перекачке.
Небольшие габариты прибора дают возможность сегодня устанавливать насос в скважины с обсадной трубой диаметром 100 мм. Но качать он может достаточно чистую воду – концентрация примесей не должна превышать 0,01%. Температура же перекачиваемой воды не должна быть больше +35С.
И остальные технические характеристики насоса для колодца «Малыш».
- Производительность агрегата: при подъеме на один метр равна 1050 л/час, при подъеме на 40 м – 430 л/час.
- Соответственно максимальный напор составляет 40 м. Правда, при горизонтальном перемещении жидкостей он может создать напор до 150 м.
- Погружать его можно на глубину до 5 метров.
- Мощность электродвигателя всего лишь 245 Вт. То есть, при малых энергозатратах насос является обладателем неплохих технических характеристик.
- Это бытовой насосный агрегат, а значит, работать он может от обычной розетки напряжением 220 вольт.
- Время беспрерывной работы – 2 часа. То есть, производитель рекомендует через каждые 2 часа отключать прибор на перерыв сроком до получаса.


И одна рекомендация. Насос приходит в торговую сеть, укомплектованным только питающим электрическим кабелем длиною 5 м. Для него необходимо отдельно приобрести шланг диаметром 18-22 мм. Он крепится к подающему патрубку обычными хомутами или вязальной проволокой.
Серия «Малыш-М»
Информация будет короткой. Это все тот же классический вариант с теми же техническими характеристиками, но с верхним водозабором. Других отличительных особенностей в нем нет.
Серия «Малыш-З»
Это самый малогабаритный насос из серии «Малышей». Он спокойно помещается в ствол скважины диаметром 80 мм. У него меньше мощность электродвигателя – всего лишь 165 Вт, но при этом достаточно внушительная производительность – 430 л/час при напоре до 20 м. И при всем при этом весит он 3 кг.
Что касается комплектации, то это, как у предыдущих моделей, электрический кабель, но длиною 30 м. Добавим, что данная модель является моноблочной, то есть, корпус прибора неразъемный (неразборный).


Серия «Малыш-К»
Данная модель от других отличается лишь тем, что в ее состав входит система автоматики. Как уже было сказано выше, это обычная термозащита. Других дополнительных отличий от базовой модели нет.
Как видите, все модели погружного насоса «Малыш» со своими техническими характеристиками мало чем отличаются друг от друга. Единственно, на что необходимо обращать внимание при выборе, это на наличие или отсутствие автоматики и верхний или нижний водозабор.
Правила установки
Как и все погружные насосы, «Малыш» опускается в ствол гидротехнического сооружения подвешенным на капроновом или стальном тросе. Для крепления троса на корпусе есть специальная проушина. При этом предварительно на него насаживается шланг, который крепится к прибору хомутами. Специалисты рекомендуют кабель и шланг скрепить между собой все теми же хомутами.
Опускать насос в колодец или скважины надо именно за трос, который верхним концом привязывается к любому крепежи в виде крюка или проушины. Если дело касается скважины, то крепление производится к оголовку. Если водозабор производится из открытого водоисточника, то необходимо создать все условия, чтобы агрегат находился в вертикальном положении. К примеру, втыкают в дно металлическую арматуру, к которой насос привязывается проволокой.


Внимание! Если для водообеспечения дачи используется насос «Малыш» с нижним водозабором, то его нижний торец должен располагаться относительно дна гидротехнического сооружения на полметра выше. Если устанавливается агрегат с верхним водозабором, то его нижний торец надо уложить прямо на дно.
И еще несколько рекомендаций относительно установки.
- Если между корпусом насоса и стенками обсадной трубы скважины недостаточно зазора, то всегда присутствует вероятность, что при вибрации агрегат начнет ударяться о трубу. Это быстро выведет его из строя. Поэтому рекомендуется установить на него резиновую манжету круглого сечения. Такие сегодня продаются в магазинах в отделах насосного оборудования.
- Нельзя подключать насос к питающей сети в процессе его монтажа. Если длины кабеля недостаточно, то его можно нарастить таким же с тем же сечением. Но учитывайте тот момент, чтобы скрутка не оказалась внутри колодца или скважины.
- Не забываем надевать на всасывающий патрубок «Малыша» сетчатый фильтр грубой очистки. Лучше использовать конструкцию цилиндрической формы, изготовленной из полиэтилена.
Насосная станция
Сегодня можно часто встретить вопрос, а можно ли сделать насосную станцию из «Малыша»? В принципе, никаких проблем нет. Это все тот же погружной насос, хоть и маломощный.
Для этого придется дополнительно к насосу приобрести гидроаккумулятор и обратный клапан на подающий трубопровод. Понятно, что гидроаккумулятор должен быть снабжен реле давления. Все эти дополнительные элементы локального водопровода себя оправдают, потому что на даче появится полноценная водопроводная система, работающая с определенным давлением воды внутри трубной разводки, плюс – постоянное наличие воды за счет бака гидроаккумулятора. Такая система будет снабжать водой дачу даже в случае отключения электроэнергии. Понятно, что на определенное время в зависимости от объема накопительного резервуара.


Ремонт насоса «Малыш»
Итак, с насосом погружным «Малыш» (с его характеристиками, моделями и правилами установки) разобрались. Остается одна позиция – это ремонт. Необходимо обозначить, что насос «Малыш» является бюджетным прибором, поэтому чтобы не увеличивать его стоимость, производители используют в его конструкции обычные резиновые манжеты и прокладки, которые быстро выходят из строя. Именно в местах их установки происходят протечки, что является недопустимым явлением. Особенно, если дело касается отсека, где устанавливается электродвигатель.
Поэтому очень важно следить за целостностью манжет. Если есть даже небольшой намек на то, что резинки износились, надо сразу же их поменять. Для этого разбирается корпус насоса, для чего отвинчиваются четыре винта, производится разъединение корпуса на две части, удаляется прокладка, а на ее место устанавливается новая. В принципе, ничего сложного. Единственное, что может оказаться проблемой, это сложность откручивания винтов. Пролежав много времени в воде, они ржавеют, поэтому бывает иногда невозможно их открутить.


По причине долгой эксплуатации может оборваться мембрана. Заменить ее тоже не сложно, если есть новая в наличии. Как показывает практика, в магазинах она не продается. Единственный выход, если водяному насосу «Малыш» делается ремонт своими руками, это наличие старого агрегата, который можно пустить на запчасти. Во всех остальных случаях придется воспользоваться услугами специалистов. Особенно, если сгорел мотор или оборвался шток.
Итак, подведем итог о насосе «Малыш». Компактный агрегат, недорогой, не требующий особых условий эксплуатации, не капризный. Его размеры определяет мощность устройства, поэтому производитель рекомендует использовать его только для скважин и колодцев с небольшим дебитом воды. По всем остальным техническим характеристикам и конструктивным позициям это обычный погружной насос вибрационного типа.