- Поршневые насосы
- Штанговые или штоковые
- Крыльчатые
- Мембранные
Ручные насосы или качалки – практически забытые элементы колодцев. А ведь буквально еще десять-пятнадцать лет назад их использовали практически все дачники. И самое главное, что на них жалоб-то не было, работали они исправно, десятилетиями, эффективно, не создавая проблем. Конечно, чтобы ручной насос для воды из скважины мог качать, необходимо было приложить мускульную силу. Но никто на это никогда не жаловался, хотя для стариков это было, наверное, непросто. Зато прибор всегда работал в независимости от того, если электричество на участке или нет.
В некоторых уголках дачных поселков вопрос с перебоями электропитания еще актуален, поэтому и сегодня ручной насос для скважины находит своего покупателя. К тому же низкая цена всегда останется существенным плюсом любого товара. Сказать о большом выборе насосов такого типа нельзя, поскольку их производство едва ли можно назвать выгодным – гораздо более перспективными являются электрические насосы по более высокой цене. Тем не менее, линейка ручных насосов позволит выбрать для участка оптимальный. В некоторых случаях, хозяева изготавливают такие насосы самостоятельно благодаря простой конструкции.
Не будем говорить в этой статье о том, плох или хорошо ручной насос для скважины. Просто обозначим, что они все еще присутствуют на рынке. И даже такой монстр насосного оборудования, как датская компания «Grundfos», не гнушается выпускать их.
Разновидности ручных насосов для скважин
Необходимо отметить, что ручные насосы – это разнообразие конструктивных подходов к решению задачи перекачки жидкостей, и воды в том числе. Поэтому производители предлагают несколько видов, которые друг от друга отличаются именно конструкцией.
Поршневые насосы
То самая широкая разновидность моделей, которые ничем друг от друга внутренним наполнением не отличаются. Различие может быть только внешним, где присутствует корпус агрегата, изготовленный из чугуна, стали, нержавейки или даже пластика. По внешнему виду это могут быть простые колонки или узорчатые выплавленные корпуса, которые даже можно отнести к произведениям искусства.


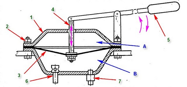
Если посмотреть на фото выше, то можно сразу же определить некоторые детали прибора.
- А это цилиндрический корпус, который называется гильзой.
- Выходной патрубок, он же излив.
- Рукоятка в виде коромысла, которая соединена с вертикальным штоком на шарнире.
Что же располагается внутри агрегата. Посмотрите на фото ниже, где показы внутренности.


- Это вышеупомянутая гильза.
- Это поршень, который своим движением вверх-вниз создает давление, поднимающее воду из скважины. Кстати, поршень плотно прилегает в стенкам корпуса.
- Шток, который соединен с одной стороны с коромыслом через шарнир, а с другой стороны с поршнем (соединение жесткое).
- Излив.
- Труба, которая будет вставлена в скважину.
- Обратный клапан. Необходимо отметить, что некоторые производители в комплект ручного насоса уже добавляют этот элемент в собранном виде.
- Это отверстия в поршне, закрытые клапанами. Через них вода поступает из скважины в гильзу, а клапана не пропускают воду обратно вниз.
Принцип работы такого ручного насоса для колодца достаточно прост. При опускании коромысла вниз, поднимается шток с поршнем. Внутри скважины создается разряжение, которое поднимает воду вверх. Опуская поршень вниз, открываются клапана под действием давления воды, которая давит снизу. Она через отверстия поступает в верхнюю часть гильзы, а далее в излив.
Все очень просто и надежно. Единственное уязвимое место конструкции – это уплотнения на поршне, которые соприкасаются с внутренними стенками гильзы. Да и клапана на поршне также часто выходят из строя, особенно, если перекачивается вода с мелкими твердыми включениями. Они, как абразивные частицы, срезают слой прокладок, которые изготавливаются или из резины, или из пластмассы.
Что касается производительности насосной установки, то все зависит от диаметра и высоты гильзы. Маломощные колонки могут перекачивать 0,5 литра за один цикл прокачки, то есть, поднял и опустил рычаг. Высокопроизводительные приборы могут перекачивать до 2 литров воды.
Внимание! Необходимо учитывать тот факт, что поршневые водяные насосы ручного действия можно устанавливать на скважины или колодцы глубиною не более 10 м.
Штанговые или штоковые
А вот штоковые насосные установки могут качать воду с глубины до 30 м. С внешней стороны они ничем не отличаются от обычных колонок. И принцип работы у них тот же. Да и конструктивно это все тот же поршневой вариант. Единственное отличие заключается в том, что поршневая группа располагается не в гильзе прибора, а внутри трубы, которая опускается в воду. То есть, между поршнем и водой нет воздушной прослойки.


Внимание! Штоковые ручные насосы можно устанавливать в скважины, у которых диаметр обсадной трубы не меньше 100 мм.
Обратите внимание на фото выше, где показано, что рабочий цилиндр поршневой группы располагается внутри водоносного слоя. При этом необходимо учитывать, чтобы нижний торец цилиндра располагался ниже водной глади не менее чем на 1 м. Сам цилиндр с гильзой связан трубой, по которой будет подниматься вода. Поршень же в коромыслом связан штоком, который располагается внутри подъемной трубы. На нем же есть отверстия с клапанами. Что касается обратного клапана, то он находится в нижней части рабочего цилиндра.
Конечно, принцип перекачки у этого механического насоса для скважины немного другой. То есть, подача воды производится не способом всасывания, а методом создания водяного столба в цилиндре, который поднимает вверх сам поршень. При опускании его открываются клапана и отверстии, и он свободно может опуститься вниз, чтобы опять поднять необходимое количество воды при подъеме.
Понятно, что для работы такого насоса надо приложить достаточно большое усилие. Поэтому в их конструкцию входят длинные рычаги-рукоятки. Да и в плане монтажа и ремонта эти модели намного сложнее. Но если водоносный слой располагается глубоко, то без штанговых насосов на загородном участке не обойтись.
И еще один нюанс, который можно отнести к недостаткам насосов поршневого типа. Это циклическая подача воды, то есть, из излива она будет поступать порциями.
Крыльчатые
Данная разновидность была изобретена для перекачки жидкостей небольшими объемами. Их использовали на складах, в небольших цехах и автобазах и так далее. Но если глубина колодца не превышает 7 м, то насос данного типа можно установить и на него для подъема воды.


Итак, прибор состоит из металлического корпуса, с двух сторон которого расположено два патрубка: всасывающий (2) и подающий или напорный (3). Соединение патрубков может быть резьбовым или муфтовым.
Внутри на оси располагается крыльчатка, состоящая из двух крыльев. На них есть отверстия с клапанами. Они идентичны отверстиям, расположенных на перемычке (6), которая делит нижний отсек на две части. Получается так, что крыльчатка и перемычка делит внутреннюю полость на три отсека. И все работает так, чтобы вода перемещалась только в одном направлении – от всасывающего к напорному патрубку.
Мембранные
И последняя разновидность ручного водяного насоса для скважины – мембранный. Их корпус изготавливается или из металла, или из пластика. Чисто в монтажном плане такие насосы устанавливаются на стенку, поэтому в корпусе есть проушины для крепежей.


Работает такой прибор достаточно просто, потому что в его конструкции присутствует мембрана, создающая при поднятии и опускание разряжение и соответственно давление. Она делит прибор на две части: воздушную и водяную. Рабочей является вторая.
Есть в конструкции и два клапана: входной и напорный. Как только мембрана поднимается вверх, срабатывает входной патрубок (6), через который вода поступает в водяную камеру. Клапан напорный (7), наоборот, в это время закрыт.
Мембрана опускается вниз, создается давление воды, при котором напорный клапан открывается, а входной закрывается. Так и происходит перекачка воды. На фото ниже принцип работы мембранного насоса хорошо видно.


Как видите, ручных насосов для скважин не так уж и мало. Надо отдать должное двум первым позициям, которые чаще других используются на дачных участках. А выбирая из двух, надо ориентироваться глубиною водозабора. Но, как показывает практика, поршневые модели и сегодня еще используются.